Trạm biến áp một cột là dạng trạm biến áp kiểu mới với nhiều ưu điểm vượt bậc so với các kiểu trạm biến áp truyền thống trước đây. Cùng tìm hiểu những ưu điểm cụ thể của trạm biến áp một cột qua bài viết dưới đây.

Trạm biến áp một cột
Trạm biến áp là gì?
Trước khi tìm hiểu về trạm biến áp 1 cột, cần nắm được khái niệm cơ bản về trạm biến áp. Trạm biến áp (máy biến áp) là thiết bị điện từ tĩnh hoạt động theo nguyên lý cảm ứng điện từ, có khả năng làm thay đổi điện áp nhưng vẫn giữ nguyên tần số của hệ thống dòng điện xoay chiều.
Tuỳ thuộc vào nhiệm vụ và thiết kế mà hiện trên thị trường có rất nhiều kiểu trạm biến áp khác nhau bao gồm:
– Trạm biến áp trong nhà gồm dạng trạm kín; dạng trạm trọn bộ và dạng trạm gis.
– Trạm biến áp ngoài trời (phù hợp với các trạm trung gian có công suất lớn) gồm dạng trạm treo; dạng trạm giàn; dạng trạm nền; dạng trạm hợp bộ; dạng trạm hạ thế kiểu trụ thép đơn thân hay còn gọi là trạm ngồi. Trong số đó, trạm biến áp 1 cột thuộc kiểu trạm biến áp hạ thế có trụ thép đơn thân.

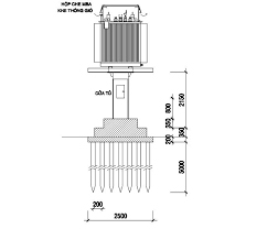
Sơ đồ cấu tạo trạm biến áp một cột
Trạm biến áp 1 cột – Sự lựa chọn hoàn hảo cho môi trường đô thị
Hiện nay khi nền kinh tế ngày càng phát triển, các khu đô thị và trung tâm thương mại mọc lên ngày càng nhiều. Tuy nhiên, với tốc độ đô thị hoá nhanh như hiện này, việc cung cấp điện năng cho các khu dân cư bằng những kiểu trạm biến áp truyền thống đang nảy sinh nhiều hạn chế, chẳng hạn như kiểu trạm treo truyền thống tuy tiết kiệm đất nhưng lại làm mất mỹ quan thành phố, về lâu dài không được khuyến khích lắp đặt ở các đô thị, siêu đô thị.

Trạm biến áp 1 cột – Sự lựa chọn hoàn hảo cho môi trường đô thị
Để khắc phục vấn đề này cũng như đảm bảo nhu cầu sử dụng điện năng ở những thành phố lớn, các nhà sản xuất đã tung ra thị trường trạm biến áp kiểu mới là trạm biến áp 1 cột. So với các trạm biến áp truyền thống và trạm kios, trạm biến áp 1 cột vừa tiết kiệm chi phí đầu tư, vừa tiết kiệm chi phí về diện tích đất đai mà vẫn đảm bảo tính mỹ quan và cung cấp đủ điện năng cho nhu cầu sử dụng của người dân.
Trạm biến áp kiểu mới này là dạng trạm có máy biến áp được lắp đặt trên một trụ bằng cột bê tông ly tâm hoặc trụ thép đơn thân. Trụ thép đơn thân có cấu tạo bằng thép được mạ kẽm, bao gồm bệ đỡ máy biến áp, thân trụ và chân đế trụ. Các bộ phận khác được chế tạo từ tôn tráng kẽm với độ dày 2mm và được phủ một lớp sơn cách điện.
So với các kiểu trạm biến áp truyền thống như trạm hợp bộ, trạm treo, trạm phòng,… trạm biến áp với trụ đỡ đơn thân kiểu mới chỉ chiếm một diện tích mặt bằng rất nhỏ, tính thẩm mỹ cao nên thích hợp lắt đặt cho khu đô thị. Cũng vì lý do này mà trạm biến áp 1 cột thường được lắp đặt ngoài trời tại các nơi công cộng sở hữu không gian nhỏ hẹp, mật độ dân cư cao như công viên, vỉa hè, tàu điện, sây bay, bệnh viện, nhà cao tầng, trung tâm thương mại,… Ngoài ra, thiết bị còn được sử dụng trong các nhà máy sản xuất và các khu công nghiệp. Được biết, trạm biến áp 1 cột hiện đang được sử dụng rộng rãi trong mạng lưới truyền tải và phân phối điện năng từ 6kV tới 35kV với công suất máy biến áp lên đến 630kVA.
Nguồn ảnh: Sưu tầm

